Product Number: WS-F6K-48X2-SPLTR
This publication describes how to install the
Catalyst 6500 series 96-port splitter patch panel.
The splitter patch panel is used with the
WS-X6148X2-RJ-45 10/100 Ethernet module to provide you with 96
Ethernet ports. The WS-X6148X2-RJ-45 Ethernet module has 48
physical RJ-45 connectors. By utilizing the two unused Ethernet
pairs in each connector, the port density of the module is doubled.
Contents
This publication contains these sections:
•
Safety Overview
•
Parts List
•
Required Tools
•
Installation Guidelines
•
Installing the Splitter Patch
Panel
•
Attaching the Interface Cables
•
Translated Safety Warnings
•
Obtaining Documentation and
Submitting a Service Request
Safety Overview
This section provides the warnings applicable
to the installation of the splitter patch panel.
Statement 1071—Warning Definition
|
Warning 
|
IMPORTANT SAFETY INSTRUCTIONS
This warning symbol means danger. You
are in a situation that could cause bodily injury. Before you work
on any equipment, be aware of the hazards involved with electrical
circuitry and be familiar with standard practices for preventing
accidents. Use the statement number provided at the end of each
warning to locate its translation in the translated safety warnings
that accompanied this device.
SAVE THESE INSTRUCTIONS
|
|
Waarschuwing
|
BELANGRIJKE VEILIGHEIDSINSTRUCTIES
Dit waarschuwingssymbool betekent
gevaar. U verkeert in een situatie die lichamelijk letsel kan
veroorzaken. Voordat u aan enige apparatuur gaat werken, dient u
zich bewust te zijn van de bij elektrische schakelingen betrokken
risico's en dient u op de hoogte te zijn van de standaard
praktijken om ongelukken te voorkomen. Gebruik het nummer van de
verklaring onderaan de waarschuwing als u een vertaling van de
waarschuwing die bij het apparaat wordt geleverd, wilt raadplegen.
BEWAAR DEZE INSTRUCTIES
|
|
Varoitus
|
TÄRKEITÄ TURVALLISUUSOHJEITA
Tämä varoitusmerkki merkitsee vaaraa.
Tilanne voi aiheuttaa ruumiillisia vammoja. Ennen kuin käsittelet
laitteistoa, huomioi sähköpiirien käsittelemiseen liittyvät riskit
ja tutustu onnettomuuksien yleisiin ehkäisytapoihin.
Turvallisuusvaroitusten käännökset löytyvät laitteen mukana
toimitettujen käännettyjen turvallisuusvaroitusten joukosta
varoitusten lopussa näkyvien lausuntonumeroiden avulla.
SÄILYTÄ NÄMÄ OHJEET
|
|
Attention
|
IMPORTANTES INFORMATIONS DE SÉCURITÉ
Ce symbole d'avertissement indique un
danger. Vous vous trouvez dans une situation pouvant entraîner des
blessures ou des dommages corporels. Avant de travailler sur un
équipement, soyez conscient des dangers liés aux circuits
électriques et familiarisez-vous avec les procédures couramment
utilisées pour éviter les accidents. Pour prendre connaissance des
traductions des avertissements figurant dans les consignes de
sécurité traduites qui accompagnent cet appareil, référez-vous au
numéro de l'instruction situé à la fin de chaque avertissement.
CONSERVEZ CES INFORMATIONS
|
|
Warnung
|
WICHTIGE SICHERHEITSHINWEISE
Dieses Warnsymbol bedeutet Gefahr. Sie
befinden sich in einer Situation, die zu Verletzungen führen kann.
Machen Sie sich vor der Arbeit mit Geräten mit den Gefahren
elektrischer Schaltungen und den üblichen Verfahren zur Vorbeugung
vor Unfällen vertraut. Suchen Sie mit der am Ende jeder Warnung
angegebenen Anweisungsnummer nach der jeweiligen Übersetzung in den
übersetzten Sicherheitshinweisen, die zusammen mit diesem Gerät
ausgeliefert wurden.
BEWAHREN SIE DIESE HINWEISE GUT AUF.
|
|
Avvertenza
|
IMPORTANTI ISTRUZIONI SULLA SICUREZZA
Questo simbolo di avvertenza indica un
pericolo. La situazione potrebbe causare infortuni alle persone.
Prima di intervenire su qualsiasi apparecchiatura, occorre essere
al corrente dei pericoli relativi ai circuiti elettrici e conoscere
le procedure standard per la prevenzione di incidenti. Utilizzare
il numero di istruzione presente alla fine di ciascuna avvertenza
per individuare le traduzioni delle avvertenze riportate in questo
documento.
CONSERVARE QUESTE ISTRUZIONI
|
|
Advarsel
|
VIKTIGE SIKKERHETSINSTRUKSJONER
Dette advarselssymbolet betyr fare. Du
er i en situasjon som kan føre til skade på person. Før du begynner
å arbeide med noe av utstyret, må du være oppmerksom på farene
forbundet med elektriske kretser, og kjenne til standardprosedyrer
for å forhindre ulykker. Bruk nummeret i slutten av hver advarsel
for å finne oversettelsen i de oversatte sikkerhetsadvarslene som
fulgte med denne enheten.
TA VARE PÅ DISSE INSTRUKSJONENE
|
|
Aviso
|
INSTRUÇÕES IMPORTANTES DE SEGURANÇA
Este símbolo de aviso significa perigo.
Você está em uma situação que poderá ser causadora de lesões
corporais. Antes de iniciar a utilização de qualquer equipamento,
tenha conhecimento dos perigos envolvidos no manuseio de circuitos
elétricos e familiarize-se com as práticas habituais de prevenção
de acidentes. Utilize o número da instrução fornecido ao final de
cada aviso para localizar sua tradução nos avisos de segurança
traduzidos que acompanham este dispositivo.
GUARDE ESTAS INSTRUÇÕES
|
|
¡Advertencia!
|
INSTRUCCIONES IMPORTANTES DE SEGURIDAD
Este símbolo de aviso indica peligro.
Existe riesgo para su integridad física. Antes de manipular
cualquier equipo, considere los riesgos de la corriente eléctrica y
familiarícese con los procedimientos estándar de prevención de
accidentes. Al final de cada advertencia encontrará el número que
le ayudará a encontrar el texto traducido en el apartado de
traducciones que acompaña a este dispositivo.
GUARDE ESTAS INSTRUCCIONES
|
|
Varning!
|
VIKTIGA SÄKERHETSANVISNINGAR
Denna varningssignal signalerar fara. Du
befinner dig i en situation som kan leda till personskada. Innan du
utför arbete på någon utrustning måste du vara medveten om farorna
med elkretsar och känna till vanliga förfaranden för att förebygga
olyckor. Använd det nummer som finns i slutet av varje varning för
att hitta dess översättning i de översatta säkerhetsvarningar som
medföljer denna anordning.
SPARA DESSA ANVISNINGAR
|
|
|
|
|
|
|
|
|
|
|
|
|
|
|
|
|
Aviso
|
INSTRUÇÕES IMPORTANTES DE SEGURANÇA
Este símbolo de aviso significa perigo.
Você se encontra em uma situação em que há risco de lesões
corporais. Antes de trabalhar com qualquer equipamento, esteja
ciente dos riscos que envolvem os circuitos elétricos e
familiarize-se com as práticas padrão de prevenção de acidentes.
Use o número da declaração fornecido ao final de cada aviso para
localizar sua tradução nos avisos de segurança traduzidos que
acompanham o dispositivo.
GUARDE ESTAS INSTRUÇÕES
|
|
Advarsel
|
VIGTIGE SIKKERHEDSANVISNINGER
Dette advarselssymbol betyder fare. Du
befinder dig i en situation med risiko for legemesbeskadigelse. Før
du begynder arbejde på udstyr, skal du være opmærksom på de
involverede risici, der er ved elektriske kredsløb, og du skal
sætte dig ind i standardprocedurer til undgåelse af ulykker. Brug
erklæringsnummeret efter hver advarsel for at finde oversættelsen i
de oversatte advarsler, der fulgte med denne enhed.
GEM DISSE ANVISNINGER
|
|
|
|
|
|
|
|
|
|
|
|
|
|
|
|
|
|
|
|
|
|
|
|
|
Parts List
These parts are in the WS-F6K-48X2-SPLTR
accessory kit:
•
96-port splitter patch panel assembly
•
12-24 X .75 inch Phillips pan head screws — Quantity 8
•
10-32 X .75 inch Phillips pan head screws — Quantity 8
•
M4 X 6mm Phillips pan head screws — Quantity 6
Required Tools
These tools are required to perform the
installation of the 96-port splitter patch panel:
•
No. 2 Phillips screwdriver
•
Small flat-blade screwdriver (if you are removing
individual splitters from the splitter patch panel)
•
No. 1 Phillips screwdriver (if you are removing
individual splitters from the splitter patch panel)
•
Your own ESD-prevention equipment
Preventing Electrostatic Discharge
Electrostatic discharge (ESD) damage, which
can occur when electronic cards or components are improperly
handled, results in complete or intermittent failures. Port
adapters and processor modules consist of printed circuit boards
that are fixed in metal carriers. Electromagnetic interference
(EMI) shielding and connectors are integral components of the
carrier. Although the metal carrier helps to protect the board from
ESD, use a preventive antistatic strap during handling. Following
are guidelines for preventing ESD damage:
•
Always use an ESD wrist or ankle strap and ensure that
it makes good skin contact.
•
Connect the equipment end of the strap to an
unfinished chassis surface.
•
When installing a component, use any available ejector
levers or captive installation screws to properly seat the bus
connectors in the backplane or midplane. These devices prevent
accidental removal, provide proper grounding for the system, and
help to ensure that bus connectors are properly seated.
•
When removing a component, use any available ejector
levers or captive installation screws to release the bus connectors
from the backplane or midplane.
•
Handle carriers by available handles or edges only;
avoid touching the printed circuit boards or connectors.
•
Place a removed component board-side-up on an
antistatic surface or in a static shielding container. If you plan
to return the component to the factory, immediately place it in a
static shielding container.
•
Avoid contact between the printed circuit boards and
clothing. The wrist strap only protects components from ESD
voltages on the body; ESD voltages on clothing can still cause
damage.
•
Never attempt to remove the printed circuit board from
the metal carrier.
Caution 
For safety, periodically check the resistance value of
the antistatic strap. The measurement should be between 1 and 10
megohm (Mohm).
Installation Guidelines
In environments where rack space is an issue,
it is important to understand the different installation scenarios
for the splitter patch panel. Remember that each splitter patch
panel can have forty-eight Ethernet cables connected to the back
and ninety-six Ethernet cables connected to the front.
Figure 1 shows three
different installation scenarios using a Catalyst 6506 switch with
two WS-X6148X2-RJ-45 Ethernet modules and two splitter patch
panels:
•
The left view shows an installation in which a
customer uses only the 48 ports on the module or uses the
individual cable splitters removed from the splitter patch panel.
In this scenario, the splitter patch panel is not installed.
•
The middle view shows an installation in which the
equipment rack has cable access cutouts along the rack sides,
allowing the customer to route the Ethernet cables from the front
of the Ethernet module, through the cutouts, to the back of the
splitter patch panel. In this scenario, the splitter patch panel
can be mounted directly above the switch chassis.
•
The right view shows an installation in which the
equipment rack does not have cable access cutouts. The customer
must install the splitter patch panel at least 1 RU (1.75 inches)
above the switch chassis to create space for the Ethernet cables to
pass between the chassis and the splitter patch panel. If
additional WS-X6148X2-RJ-45 Ethernet modules are installed in the
switch, the splitter patch panels must be stacked above each other,
with a minimum of 1 RU (1.75 inches) spacing between them.
Figure 1 Installation Scenarios for the
Splitter Patch Panel
Removing Individual Splitters from the
Splitter Patch Panel
If you are planning to install the
WS-X6148X2-RJ-45 and use individual splitters at the desktop to
save rack space, you can use the splitter patch panel as a source
for the individual cable splitters.
Note
Cisco supports only the use of the splitter patch
panel or the individual cable splitters mounted in the splitter
patch panel.
To remove individual cable splitters from the
splitter patch panel, perform these steps:
Step 1
Loosen and remove the four countersink screws, two on
the top of the splitter patch panel and two on the bottom of the
splitter patch panel. (See Figure 2.)
Step 2
Loosen and remove the three pan-head screws located in
the trough on the back of the splitter patch panel. (See Figure 2.)
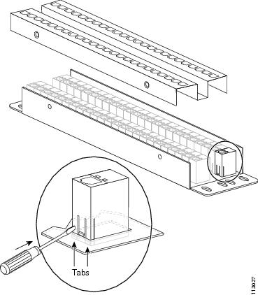
Figure 2 Opening the Splitter Patch Panel
Step 3
Separate the two halves of the splitter patch panel.
Step 4
Using a small flat-blade screwdriver, press in on the
two tabs, shown in Figure 3, to release the
individual cable splitter, and carefully remove the individual
cable splitter from the panel.
Figure 3 Removing the Splitter from the
Splitter Patch Panel
Step 5
Repeat step 4 for as many individual cable splitters
as you need.
Step 6
Position the splitter patch panel halves together,
aligning the screw holes.
Step 7
Secure the halves together with seven screws.
Step 8
Retain the splitter patch panel as a source for
additional individual splitters.
Installing the Splitter Patch Panel
This section describes how to install the
splitter patch panel in the rack.
To install the splitter patch panel in the
rack, perform these steps:
Step 1
Remove the splitter patch panel from its protective
packaging.
Step 2
Position the splitter patch panel in the rack.
Note
Leave 1 RU (1.75 inches) of space between the top of
the switch chassis and the bottom of the splitter patch panel if
the Ethernet cables are to be routed between the switch chassis and
the splitter patch panel.
Step 3
Verify that the splitter patch panel is level in the
rack, and then secure the panel to the rack with four 12-24 or
10-32 screws.
Figure 4 Installing the Splitter Patch
Panel in the Rack
Attaching the Interface Cables
This section describes how to attach Ethernet
interface cables to the splitter patch panel.
Warning
To avoid electric shock, do not connect safety
extra-low voltage (SELV) circuits to telephone-network voltage
(TNV) circuits. LAN ports contain SELV circuits, and WAN ports
contain TNV circuits. Some LAN and WAN ports both use RJ-45
connectors. Use caution when connecting cables. Statement 1021
To attach interface cables from the
WS-X6148X2-RJ-45 Ethernet module to the splitter patch panel and
network interface cables to the splitter patch panel, perform these
steps:
Step 1
Plug one end of the Ethernet cable into the
WS-X6148X2-RJ-45 Ethernet module port connector. Make sure that the
Ethernet plug is fully inserted into the connector and that the
plug retaining clip locks into place.
Step 2
Route the Ethernet cable to the back of the splitter
patch panel according the type of installation scenario you are
performing.
Step 3
From the back of the splitter back panel, plug the
other end of the Ethernet cable into the appropriate splitter patch
panel connector. (See Figure 5.)
For example, if you plug one end of the
Ethernet cable into port 1/49 on the WS-X6148X2-RJ-45 Ethernet
module, and then route the Ethernet cable to the back of the
splitter patch panel, you must plug the other end of the Ethernet
cable into port 1/49 on the back of the splitter patch panel.
Figure 5 Connecting the Splitter Patch
Panel to the WS-X6148X2-RJ-45 Ethernet Module
Step 4
From the front of the splitter patch panel, connect
the network interface cable to the appropriate splitter patch panel
port. (See Figure 6.)
Figure 6 Attaching the Network Interface
Cable to the Splitter Patch Panel
Translated Safety Warnings
This section repeats in multiple languages
the basic warnings that appear in this publication.
Statement 1021—SELV Circuit
|
Warning 
|
To avoid electric shock, do not
connect safety extra-low voltage (SELV) circuits to
telephone-network voltage (TNV) circuits. LAN ports contain SELV
circuits, and WAN ports contain TNV circuits. Some LAN and WAN
ports both use RJ-45 connectors. Use caution when connecting
cables.
|
|
Waarschuwing
|
Om elektrische schokken te vermijden,
mogen veiligheidscircuits met extra lage spanning (genaamd SELV =
Safety Extra-Low Voltage) niet met telefoonnetwerkspanning (TNV)
circuits verbonden worden. LAN (Lokaal netwerk) poorten bevatten
SELV circuits en WAN (Regionaal netwerk) poorten bevatten TNV
circuits. Sommige LAN en WAN poorten gebruiken allebei RJ-45
connectors. Ga voorzichtig te werk wanneer u kabels verbindt.
|
|
Varoitus
|
Jotta vältyt sähköiskulta, älä kytke
pienjännitteisiä SELV-suojapiirejä puhelinverkkojännitettä (TNV)
käyttäviin virtapiireihin. LAN-portit sisältävät SELV-piirejä ja
WAN-portit puhelinverkkojännitettä käyttäviä piirejä. Osa sekä LAN-
että WAN-porteista käyttää RJ-45-liittimiä. Ole varovainen
kytkiessäsi kaapeleita.
|
|
Attention
|
Pour éviter une électrocution, ne
raccordez pas les circuits de sécurité basse tension (Safety
Extra-Low Voltage ou SELV) à des circuits de tension de réseau
téléphonique (Telephone Network Voltage ou TNV). Les ports du
réseau local (LAN) contiennent des circuits SELV et les ports du
réseau longue distance (WAN) sont munis de circuits TNV. Certains
ports LAN et WAN utilisent des connecteurs RJ-45. Raccordez les
câbles en prenant toutes les précautions nécessaires.
|
|
Warnung
|
Zur Vermeidung von Elektroschock die
Sicherheits-Kleinspannungs-Stromkreise (SELV-Kreise) nicht an
Fernsprechnetzspannungs-Stromkreise (TNV-Kreise) anschließen.
LAN-Ports enthalten SELV-Kreise, und WAN-Ports enthalten
TNV-Kreise. Einige LAN- und WAN-Ports verwenden auch
RJ-45-Steckverbinder. Vorsicht beim Anschließen von Kabeln.
|
|
Avvertenza
|
Per evitare scosse elettriche, non
collegare circuiti di sicurezza a tensione molto bassa (SELV) ai
circuiti a tensione di rete telefonica (TNV). Le porte LAN
contengono circuiti SELV e le porte WAN contengono circuiti TNV.
Alcune porte LAN e WAN fanno uso di connettori RJ-45. Fare
attenzione quando si collegano cavi.
|
|
Advarsel
|
Unngå å koble lavspenningskretser (SELV)
til kretser for telenettspenning (TNV), slik at du unngår elektrisk
støt. LAN-utganger inneholder SELV-kretser og WAN-utganger
inneholder TNV-kretser. Det finnes både LAN-utganger og
WAN-utganger som bruker RJ-45-kontakter. Vær forsiktig når du
kobler kabler.
|
|
Aviso
|
Para evitar choques eléctricos, não
conecte os circuitos de segurança de baixa tensão (SELV) aos
circuitos de tensão de rede telefónica (TNV). As portas LAN contêm
circuitos SELV e as portas WAN contêm circuitos TNV. Algumas portas
LAN e WAN usam conectores RJ-45. Tenha o devido cuidado ao conectar
os cabos.
|
|
¡Advertencia!
|
Para evitar la sacudida eléctrica, no
conectar circuitos de seguridad de voltaje muy bajo (safety
extra-low voltage = SELV) con circuitos de voltaje de red
telefónica (telephone network voltage = TNV). Los puertos de redes
de área local (local area network = LAN) contienen circuitos SELV,
y los puertos de redes de área extendida (wide area network = WAN)
contienen circuitos TNV. En algunos casos, tanto los puertos LAN
como los WAN usan conectores RJ-45. Proceda con precaución al
conectar los cables.
|
|
Varning!
|
För att undvika elektriska stötar,
koppla inte säkerhetskretsar med extra låg spänning (SELV-kretsar)
till kretsar med telefonnätspänning (TNV-kretsar). LAN-portar
innehåller SELV-kretsar och WAN-portar innehåller TNV-kretsar.
Vissa LAN- och WAN-portar är försedda med RJ-45-kontakter. Iaktta
försiktighet vid anslutning av kablar.
|
|
|
|
|
|
|
|
|
|
|
|
|
Obtaining Documentation and Submitting a
Service Request
For information on obtaining documentation,
submitting a service request, and gathering additional information,
see the monthly What's New in Cisco Product Documentation, which
also lists all new and revised Cisco technical documentation, at:
http://www.cisco.com/en/US/docs/general/whatsnew/whatsnew.html
Subscribe to the What's New in Cisco Product Documentation as a
Really Simple Syndication (RSS) feed and set content to be
delivered directly to your desktop using a reader application. The
RSS feeds are a free service and Cisco currently supports RSS
Version 2.0.
CCIP, CCSP, the Cisco Arrow logo, the
Cisco Powered Network mark, Cisco Unity,
Follow Me Browsing, FormShare, and StackWise are trademarks of
Cisco Systems, Inc.; Changing the Way We Work, Live, Play, and
Learn, and iQuick Study are service marks of Cisco Systems, Inc.;
and Aironet, ASIST, BPX, Catalyst, CCDA, CCDP, CCIE, CCNA, CCNP,
Cisco, the Cisco Certified Internetwork Expert logo, Cisco IOS, the
Cisco IOS logo, Cisco Press, Cisco Systems, Cisco Systems Capital,
the Cisco Systems logo, Empowering the Internet Generation,
Enterprise/Solver, EtherChannel, EtherSwitch, Fast Step, GigaStack,
Internet Quotient, IOS, IP/TV, iQ Expertise, the iQ logo, iQ Net
Readiness Scorecard, LightStream, MGX, MICA, the Networkers logo,
Networking Academy, Network Registrar, Packet, PIX, Post-Routing, Pre-Routing, RateMUX,
Registrar, ScriptShare, SlideCast, SMARTnet, StrataView Plus,
Stratm, SwitchProbe, TeleRouter, The Fastest Way to Increase Your
Internet Quotient, TransPath, and VCO are registered trademarks of
Cisco Systems, Inc. and/or its affiliates in the United States and
certain other countries.
All other trademarks mentioned in this
document or Website are the property of their respective owners.
The use of the word partner does not imply a partnership
relationship between Cisco and any other company. (0401R)
Copyright © 2004 Cisco Systems, Inc. All
rights reserved.